Перейти до змісту

Продолжаем жизнь батареи при долгой стоянке


Рекомендовані повідомлення

Собственно говоря особо не думал над вопросом посадки батареи при длительной стоянке так как АКБ стоит нормальный да и приходится заводить машину каждый день. Но вот если выезжать из гаража или стоянки  редко, то подобная доработка окажется довольно полезной.

Идея - отключать массу батареи при длительной стоянке, получаем уменьшение разрядного тока за счет отключения ненужных потребителей тем самым уменьшения статического потребления электричества от батареи.

Причем по моему разумению совсем нету необходимости отключать оба массовых проводов.

У нас в машинах, впрочем как и у большинства массы две. Одна ветвь от минусовой клеммы батареи на блок двигателя, вторая от клеммы на кузов авто ( в районе переднего левого колеса.

поэтому решено отключать массовый провод идущий к кузову. ассу моторного блока отключать не желательно да и не нужно по причине того что она действует только на свечи зажигания и генератор со стартером.

Место крепления отключателя - под полкой АКБ ( пока точно не определено ).

Сам отключатель по сути своей это соленоид с фиксируемой механически мощной контактной группой. Включение и выключение массы можно производить как механически ( нажатием резиновой кнопки с торца устройства) так и подачей управляющего напряжения с обычной кнопки без фиксации. ( в самом отключателе есть защелка.

Тае же этот девайз может быть применен как вариант противоугонки. Обесточив массу естественно заводка и работа двигателя становится невозможной.

Но возникает одно небольшое препятствие которое довольно легко устранить - работа сигналки.

Для этого придется протянуть отдельный минусовый провод для ее питания от клеммы батареи.

Ну вот вроде написал для начала вводные.

Кто что думает по этому поводу?

Сам девайз выглядит вот так.

med_gallery_13656_1979_14990.jpg
 

Посилання на коментар
https://lanos.com.ua/topic/82064-prodolzhaem-zhizn-batarei-pri-dolgoy-stoyanke/
Поділитись на інші сайти

Кто что думает по этому поводу?

 

 1. Если уж отключать массу, то какой смысл оставлять ее на двиге. Помнится в некоторых авто двиг также соединен с кузовом.

2. Если в цепи авто осталась только сигналка, то какой смысл тянуть к ней провод и запитывать ее отдельно?

С таким же успехом можно параллельно Твоему устройству поставить предохранитель на порядка 10...20А, что вполне позволит сигналке продолжать работать, позволит приборке загореться при несанкционированном повороте ключа, но не позволит запустить стартер ... ибо предохранитель сразу сгорит.

3. Опять же: если все цепи отключены и осталась только сига - какой смысл отключать массу и опятьже запитывать сигу отдельно?

4. Как по мне, то АКБ надо или отключать полностью и уносить в тепло или не трогать вообще.

5. Да и мудрить автоматический выключатель я бы не стал - лучше механический...

Посилання на коментар
https://lanos.com.ua/topic/82064-prodolzhaem-zhizn-batarei-pri-dolgoy-stoyanke/#findComment-1726128
Поділитись на інші сайти

Оно то так, только немного не так. Помимо сигналки есть еще другие потребители. ЭБУ, радио и.т.д.

Массу на двиге отключать не желательно т.к. через нее протекает зарядный ток генерантор ( минусовый потенциал) и ток при старте двигателя.

В общем масса мотора и останется на болте кузова, а вторая ветвь будет коммутироваться через этот отключатель.

по сигналке - нужно протянуть под крыло только один провод минуса с батареи до минусового провода сигналки. Концевики дверей, передатчик и датчик удара работать будут. Концевики через фантомную землю

Посилання на коментар
https://lanos.com.ua/topic/82064-prodolzhaem-zhizn-batarei-pri-dolgoy-stoyanke/#findComment-1726133
Поділитись на інші сайти

Игорь, Ты меня не услышал и просто повторил все то, что написал вначале...

 

ЭБУ, часы, магнитола в режиме питания памяти - в моем случае потребляют все вместе взятые 9 мА...

Даже если считать, что магнитола потребляет много, то запитай ее от сиги или  от замка зажигания.

 

Останется ЭБУ и Часы - а их потребление выходит существенно меньше чем сиги.

 

 

 

Ну и скажи - какой смысл отключать массу, если оставлять рабочей сигу?

Посилання на коментар
https://lanos.com.ua/topic/82064-prodolzhaem-zhizn-batarei-pri-dolgoy-stoyanke/#findComment-1726140
Поділитись на інші сайти

Миша!

Для меня это критично. Т.к. девайзов по машине натыкано довольно много. Я вот сам посчитал и ужаснулся. по имо часов еще 14 микроконтроллеров., не считая приборки, она тоже к постоянному плюсу подключена :)

по сигналке - это уже на усмотрение того , кто будет повторять. можно и не тянуть минус для сиги и оставить все как есть. Если машина ночует в гараже, а если на чужой стоянке, то сигналку лучше бы оставить.

Суть ведь в другом.

1. Получаем простыми средствами электрокоммутацию массы,

2. простую блокировку двигателя ( простая противоугонка

3. Понижаем статическое потребление батареи в режиме простоя.

Посилання на коментар
https://lanos.com.ua/topic/82064-prodolzhaem-zhizn-batarei-pri-dolgoy-stoyanke/#findComment-1726148
Поділитись на інші сайти

АКБ надо или отключать полностью... или не трогать вообще.

Соглашусь с этим утверждением.

У меня "-" АКБ отключается электромагнитным реле, через контакты которого питается и стартер в том числе. При отключении "массы", сигналка продолжает питаться через поляризованное реле. Сделано так потому, что силовое реле "массы" отпускает при выключении зажигания (есть возможность легко предотвратить это при вечерних и ночных остановках), а сигналка остаётся запитанной. Этот режим используется при обычных поездках. При долгих стоянках в гараже, вместе с отключением силового реле, переключается и поляризованное, обесточивая сигналку. 

Змінено користувачем Krylov
Посилання на коментар
https://lanos.com.ua/topic/82064-prodolzhaem-zhizn-batarei-pri-dolgoy-stoyanke/#findComment-1726150
Поділитись на інші сайти

1. Получаем простыми средствами электрокоммутацию массы,

Вот именно это меня и напрягает. Ты, облегчая одно потребление - усложняешь другое... а это как раз и приводит к непредсказуемым последствиям... а также к доп.коммутациям и доп проблемам.

 

Отговаривать Тебя не вижу смысла - хозяин барин.

 

 

 

Повторю сказанное в соседней теме - если есть такая возможность, то АКБ лучше вообще забрать домой в тепло.

Посилання на коментар
https://lanos.com.ua/topic/82064-prodolzhaem-zhizn-batarei-pri-dolgoy-stoyanke/#findComment-1726154
Поділитись на інші сайти

Ну в моем варианте это не реле. Это мощная контактная группа с фиксацией положения ( защелкой) которая управляется импульсом ( не потенциалом) на катушке.

Может так и лучше будет, чтобы рубить все. посмотрим , когда будем монтировать выключалку. Тестер все сразу покажет. :)

Посилання на коментар
https://lanos.com.ua/topic/82064-prodolzhaem-zhizn-batarei-pri-dolgoy-stoyanke/#findComment-1726155
Поділитись на інші сайти

АКБ лучше вообще забрать домой в тепло.

Н для меня это вообще не вариант. Да и неудобно ее снимать и нести куда то.

С коммутацией как раз проблем не будет. Если этот девайз стоит штатно в камазах и зилах то в дэу он работать будет.

И на счет непредсказуемости. Если не дай боже пожар или еще какая неприятность то ведь опять же легко можно все обесточить, и быстрее чем открыв капот и пытаясь открутить минусовую клемму. :)

Посилання на коментар
https://lanos.com.ua/topic/82064-prodolzhaem-zhizn-batarei-pri-dolgoy-stoyanke/#findComment-1726158
Поділитись на інші сайти

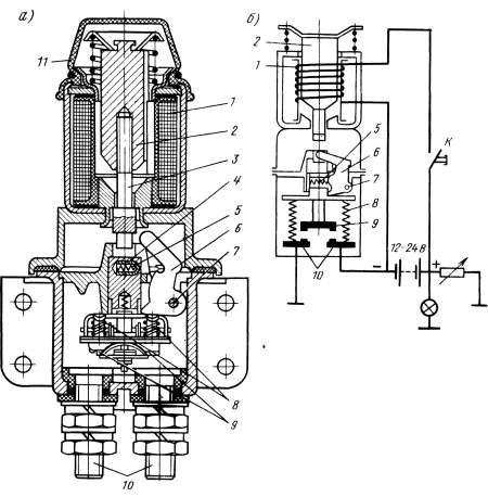
Вот так к стати этот девайз устроен

o5BR3.jpg

Посилання на коментар
https://lanos.com.ua/topic/82064-prodolzhaem-zhizn-batarei-pri-dolgoy-stoyanke/#findComment-1726159
Поділитись на інші сайти

И на счет непредсказуемости. Если не дай боже пожар или еще какая неприятность то ведь опять же легко можно все обесточить, и быстрее чем открыв капот и пытаясь открутить минусовую клемму. :)

Вот на этой мысли как раз все и горят в первую очередь...

Приезжает народ зимой с жалобами - напряжение, плотность вроде хорошие, а двигатель в мороз запускается плохо... и оказывается, что на переходном контакте теряется порядка 1В.

Посилання на коментар
https://lanos.com.ua/topic/82064-prodolzhaem-zhizn-batarei-pri-dolgoy-stoyanke/#findComment-1726163
Поділитись на інші сайти

Вот так к стати этот девайз устроен

Классная штуковина. Я такую в своё время не нашёл.

Посилання на коментар
https://lanos.com.ua/topic/82064-prodolzhaem-zhizn-batarei-pri-dolgoy-stoyanke/#findComment-1726165
Поділитись на інші сайти

Приезжает народ зимой с жалобами...

Что-то мне подсказывает, что ни мне, ни

Будь ласка Увійдіть або Зареєструйтесь щоб побачити посилання.

это не грозит. :)

Посилання на коментар
https://lanos.com.ua/topic/82064-prodolzhaem-zhizn-batarei-pri-dolgoy-stoyanke/#findComment-1726166
Поділитись на інші сайти

Вот на этой мысли как раз все и горят в первую очередь...

Приезжает народ зимой с жалобами - напряжение, плотность вроде хорошие, а двигатель в мороз запускается плохо... и оказывается, что на переходном контакте теряется порядка 1В.

Поэтому и не планирую отключать моторную землю :)

Посилання на коментар
https://lanos.com.ua/topic/82064-prodolzhaem-zhizn-batarei-pri-dolgoy-stoyanke/#findComment-1726169
Поділитись на інші сайти

Классная штуковина. Я такую в своё время не нашёл.

Да это не я нашел. Наш одноклубник озадачился этим вопросом , сначала хотелкупить дорогущее немецкое силовое реле, но я его отговорил. в общем это он нагуглил такой девайз где то, к стати у нас на авторынке 250 грн. стоит, а он нагуглил на 70!

В общем не один я такой девайз устанавливаю но и он паралельно.

 

Что-то мне подсказывает, что ни мне, ни

Будь ласка Увійдіть або Зареєструйтесь щоб побачити посилання.

это не грозит. :)

Именно так! :)

Посилання на коментар
https://lanos.com.ua/topic/82064-prodolzhaem-zhizn-batarei-pri-dolgoy-stoyanke/#findComment-1726172
Поділитись на інші сайти

Тогда следует переименовать тему в: Автоматическое отключение массы.

 

а то как то с продолжением жизни АКБ - никак не вяжется.

Посилання на коментар
https://lanos.com.ua/topic/82064-prodolzhaem-zhizn-batarei-pri-dolgoy-stoyanke/#findComment-1726173
Поділитись на інші сайти

Если отключить только массу кузова, то масса не отключится.

Посилання на коментар
https://lanos.com.ua/topic/82064-prodolzhaem-zhizn-batarei-pri-dolgoy-stoyanke/#findComment-1726175
Поділитись на інші сайти

Может и так, только кнопка редактирования отсутствует. :)

Если модераторы не пройдут мимо , пусть конечно переименуют.


Если отключить только массу кузова, то масса не отключится.

Как так!

Все чудово отключится. :)

Посилання на коментар
https://lanos.com.ua/topic/82064-prodolzhaem-zhizn-batarei-pri-dolgoy-stoyanke/#findComment-1726177
Поділитись на інші сайти

Да это не я нашел...

Мне попалось самолётное силовое реле с серебряными контактами.

Посилання на коментар
https://lanos.com.ua/topic/82064-prodolzhaem-zhizn-batarei-pri-dolgoy-stoyanke/#findComment-1726180
Поділитись на інші сайти

Мне попалось самолётное силовое реле с серебряными контактами.

Тоже ничего вариант. Но этот девайз не нужно держать постоянно под напряжением чтобы была включенна масса. Он работает с фиксацией контактов. т.е. кнопку нажал - масса соединилась, еще раз нажал - масса разомкнулась. Да и ммонтажить его удобно. Есть и уши для закрепления на поверхности и болты для подключения толстых проводов батареи

Посилання на коментар
https://lanos.com.ua/topic/82064-prodolzhaem-zhizn-batarei-pri-dolgoy-stoyanke/#findComment-1726183
Поділитись на інші сайти

Кстати - а в чем тогда прикол отключать массу если стартер остается запитан и плюсом и массой? Там ведь тоже может быть подтекание тока... да и если заклинет стартер, то данное отключение окажется просто бесполезным.

 

Если цель обестачивать электронику салона, то с таким же успехом можно рубить EF1

Посилання на коментар
https://lanos.com.ua/topic/82064-prodolzhaem-zhizn-batarei-pri-dolgoy-stoyanke/#findComment-1726186
Поділитись на інші сайти

Ну вот с плюсом я бы вообще не игрался на предмет коммутации.

по стартеру, даже если и проводами подключить втягивающее и сам стартер то двиг не заведется, ведь озг то обестачиваться будет .

по поводу замыкания стартера - так сработает же первый предохранитель :)

Посилання на коментар
https://lanos.com.ua/topic/82064-prodolzhaem-zhizn-batarei-pri-dolgoy-stoyanke/#findComment-1726190
Поділитись на інші сайти

по поводу замыкания стартера - так сработает же первый предохранитель :)

Обмотка стартера питается от АКБ напрямую через контакты втягивающего реле... если оно заклинит и контакты не разомкнутся, то как Ты отключишь автоматически такую цепь? и как Тебе поможет первый предохранитель?

Посилання на коментар
https://lanos.com.ua/topic/82064-prodolzhaem-zhizn-batarei-pri-dolgoy-stoyanke/#findComment-1726195
Поділитись на інші сайти

А как она отключается без такого электроразмыкателя? :)

Посилання на коментар
https://lanos.com.ua/topic/82064-prodolzhaem-zhizn-batarei-pri-dolgoy-stoyanke/#findComment-1726197
Поділитись на інші сайти

Гість
Ця тема закрита для опублікування відповідей.
×
×
  • Створити...

Важлива інформація

Ми розмістили cookie-файлы на ваш пристрій, щоб допомогти зробити цей сайт кращим. Ви можете змінити налаштування cookie-файлів, або продовжити без зміни налаштувань.