Перейти до змісту

Течь сальника распредвала


Рекомендовані повідомлення

Здравствуйте, помогите решить проблему. Сенс пробег 3500км. Не держит масло задний сальник распредвала. Проблема возникла при пробеге 600км.Кто знает в чем дело подскажите плиз.Заранее благодарен.

Посилання на коментар
https://lanos.com.ua/topic/75306-tech-salnika-raspredvala/
Поділитись на інші сайти

У меня та же проблема. При замене сальников на нашем косоруком СТО укр авто проблема осталась.

Посилання на коментар
https://lanos.com.ua/topic/75306-tech-salnika-raspredvala/#findComment-1571291
Поділитись на інші сайти

Была у человека похожая проблема он 5 сальников поменял, а оказалось редукционный клапан подклинивал.

Посилання на коментар
https://lanos.com.ua/topic/75306-tech-salnika-raspredvala/#findComment-1571324
Поділитись на інші сайти

Была у человека похожая проблема он 5 сальников поменял, а оказалось редукционный клапан подклинивал.

И что,где связь? Это из той же оперы,пять сальников сменил,а оказалось прогорел глушитель))) :D

А по теме,что-то мне подсказывает,что у Сенса нету заднего сальника распредвала))

Посилання на коментар
https://lanos.com.ua/topic/75306-tech-salnika-raspredvala/#findComment-1571375
Поділитись на інші сайти

И что,где связь? Это из той же оперы,пять сальников сменил,а оказалось прогорел глушитель))) :D

А по теме,что-то мне подсказывает,что у Сенса нету заднего сальника распредвала))

Прежде чем коментировать разберись с устройством головы мемза. А если не видешь связи с сальником и давлением масла то разберись с системой смазки двигателя.

Посилання на коментар
https://lanos.com.ua/topic/75306-tech-salnika-raspredvala/#findComment-1571932
Поділитись на інші сайти

У Сенса один сальник на распредвале(так что пофиг как его называть,передний или задний,он просто сальник распредвала),у 1.4 два сальника на распредвале. Была когдато такая проблемка.Нужно новый сальник по наруже немного герметиком промазать.

Посилання на коментар
https://lanos.com.ua/topic/75306-tech-salnika-raspredvala/#findComment-1571957
Поділитись на інші сайти

Прежде чем коментировать разберись с устройством головы мемза.

Что ты говоришь?)))

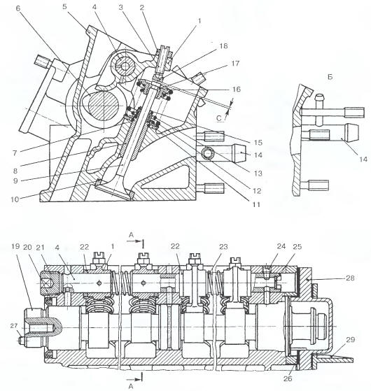
Покажи мне убогому задний сальник распредвала на данной схеме: (нижний рисунок)

index.54.jpg

А если не видешь связи с сальником и давлением масла то разберись с системой смазки двигателя.

Да? Сам разберись,прежде чем дерзить! Давление масла оно в масляных магистралях и каналах двигателя и с сальниками ну аж никак не пересекается! А избыточное давление в картере,если ты это имеешь в виду,то это совсем другое,его на исправном двигателе быть не должно,там наоборот вакуум создаётся на повышенных оборотах! Про редукционный клапан,просто смешно)) Без обид :wink:

Змінено користувачем 20vlad78
Посилання на коментар
https://lanos.com.ua/topic/75306-tech-salnika-raspredvala/#findComment-1572202
Поділитись на інші сайти

В сенсе два сальника распредвала, разных диаметров, сам менял на сто, ездил покупал и при мне вставляли. :smile284:

Номер по каталогу: 2477 - 1006084-04 - задний(Для инжекторных моторов с датчиком фаз. Устанавливается в корпус датчика фаз. Вращение вала левостороннее (против часовой стрелки). Размеры: 30*45*8.)

Номер по каталогу: 245 - 1006085 - передний

приобрести можно ЗДЕСЬ -

Будь ласка Увійдіть або Зареєструйтесь щоб побачити посилання.

Змінено користувачем chuchik
Посилання на коментар
https://lanos.com.ua/topic/75306-tech-salnika-raspredvala/#findComment-1572318
Поділитись на інші сайти

Что ты говоришь?)))

Покажи мне убогому задний сальник распредвала на данной схеме

Ты сам сказал что убогий, без обид, про задний сальник тебе человек уже ответил. Если распредвал когда-то держал в руках и видел голову то посмотри расположение масленых каналов по отношению к сальнику и тогда поймешь, а флудом заниматься нет желения. Человек задал вопрос я ему подсказал возможную причину.

Посилання на коментар
https://lanos.com.ua/topic/75306-tech-salnika-raspredvala/#findComment-1572331
Поділитись на інші сайти

Прежде чем коментировать разберись с устройством головы мемза. А если не видешь связи с сальником и давлением масла то разберись с системой смазки двигателя.

Прежде чем комментировать сначала изучите устройство и не вводите людей в заблуждение,на сальники двигателя действует только давление прорвавшихся газов внутри двигателя,а никак не давление в масляной магистрали.

Посилання на коментар
https://lanos.com.ua/topic/75306-tech-salnika-raspredvala/#findComment-1572337
Поділитись на інші сайти

Прежде чем комментировать сначала изучите устройство и не вводите людей в заблуждение,на сальники двигателя действует только давление прорвавшихся газов внутри двигателя,а никак не давление в масляной магистрали.

Ну тогда расскажи как картерные газы прорываются через шейку головки, масленую пленку и распредвал к сальнику.

Посилання на коментар
https://lanos.com.ua/topic/75306-tech-salnika-raspredvala/#findComment-1572354
Поділитись на інші сайти

Здравствуйте, помогите решить проблему. Сенс пробег 3500км. Не держит масло задний сальник распредвала. Проблема возникла при пробеге 600км.Кто знает в чем дело подскажите плиз.Заранее благодарен.

У меня сенс 2011 года мемз 307 с датчиком фаз так вот этот самый сальник потек тоже .Я заменил его передним сальником коленвала с мемз307 параметры подходят только вращение не подходит но у меня пока не течет ,после замены прошел больше тысячи.еще подходит сальник с полуоси ваз2101.Найти родной сальник у меня в поселке не удалось даже под заказ в магазине.

Посилання на коментар
https://lanos.com.ua/topic/75306-tech-salnika-raspredvala/#findComment-1572360
Поділитись на інші сайти

Ну тогда расскажи как картерные газы прорываются через шейку головки, масленую пленку и распредвал к сальнику.

Бессмысленный набор терминов и деталей,отвечать не вижу смысла.

Посилання на коментар
https://lanos.com.ua/topic/75306-tech-salnika-raspredvala/#findComment-1572389
Поділитись на інші сайти

Ну тогда расскажи как картерные газы прорываются через шейку головки, масленую пленку и распредвал к сальнику.

Бред полный. Вы хоть сами поняли, что написали....

Посилання на коментар
https://lanos.com.ua/topic/75306-tech-salnika-raspredvala/#findComment-1572532
Поділитись на інші сайти

+1 Чел отжигает)))) У мну чуть моск не взорвалсо от прочитанного :lol:

В сенсе два сальника распредвала, разных диаметров, сам менял на сто, ездил покупал и при мне вставляли. :smile284:

Номер по каталогу: 2477 - 1006084-04 - задний(Для инжекторных моторов с датчиком фаз.

Такс... По-порядочку... Где у Сенса датчик фаз? А? Я имею в виду 307-й мотор. За 317-й (1,4л) разговоров нет,там есть датчик фаз и распредвал имеет два сальника (могу ошибаться). Но на 307-м обычном сенсовском движке ничего такого нет! Ну может быть на 307-й последних годов,начали уже ставить,не знаю...

Ты сам сказал что убогий, без обид, про задний сальник тебе человек уже ответил.

Походу ту картинку,что я выложил,ты так и не смотрел))))) Иль не разобрался в ней :joking:

Змінено користувачем 20vlad78
Посилання на коментар
https://lanos.com.ua/topic/75306-tech-salnika-raspredvala/#findComment-1572603
Поділитись на інші сайти

Будь ласка Увійдіть або Зареєструйтесь щоб побачити посилання.

вот тема завтра могу сфотографировать свой дрыг 307 а именно голову с датчиком фаз.
Посилання на коментар
https://lanos.com.ua/topic/75306-tech-salnika-raspredvala/#findComment-1572609
Поділитись на інші сайти

20vlad78 - "Такс... По-порядочку... Где у Сенса датчик фаз? А? Я имею в виду 307-й мотор. За 317-й (1,4л) разговоров нет,там есть датчик фаз и распредвал имеет два сальника (могу ошибаться). Но на 307-м обычном сенсовском движке ничего такого нет! Ну может быть на 307-й последних годов,начали уже ставить,не знаю..."

Вот именно в моделях последних годов ДАТЧИК ФАЗ именно там и с сальник тоже ТАМ. :smile284:

Змінено користувачем chuchik
Посилання на коментар
https://lanos.com.ua/topic/75306-tech-salnika-raspredvala/#findComment-1572636
Поділитись на інші сайти

Разобрались :rolleyes:

Посилання на коментар
https://lanos.com.ua/topic/75306-tech-salnika-raspredvala/#findComment-1572637
Поділитись на інші сайти

подскажите, плиз, у меня сальник РВ (для уточнения - "передний" :) ) ржаво-оранжевого цвета (но не ржавчина). Что за зверь такой? На фото всех производителей присутствует только черная резина. И вопрос по сути: весь кожух равномерно забрызган маслом, от сальника явных потёков нет. Скорее всего течь была свеху, от прокладки клапанной крышки. Как убедиться в исправности сальника?

Посилання на коментар
https://lanos.com.ua/topic/75306-tech-salnika-raspredvala/#findComment-1572737
Поділитись на інші сайти

Будь ласка Увійдіть або Зареєструйтесь щоб побачити посилання.

counter вот здесь рыжие и черные сальники Змінено користувачем aka78
Посилання на коментар
https://lanos.com.ua/topic/75306-tech-salnika-raspredvala/#findComment-1572834
Поділитись на інші сайти

  • 2 місяця потому...

Доброго времени суток всем. Всем большое спасибо кто откликнулся и прошу извинить , что не отписался после решения проблемы. В запаре забыл. Задний сальник распредвала таки есть(сенс 2013г) кто считал мое письмо бессмысленым набором слов был не прав. Испробовал три сальника передний КВ ММЗ, какой то тойотовский и родной производства Кременчуг с левым вращением и насечкой. Последний дал положительный результат сухо до сих пор.

Посилання на коментар
https://lanos.com.ua/topic/75306-tech-salnika-raspredvala/#findComment-1613722
Поділитись на інші сайти

Доброго времени суток. Подскажите кто знает шо за прикол опять с моим сеней. Появился вой в районе ГРМ снял защиту и запустил движок. Увидел , что шестерня РВ вращается не в плоскости (виляет) и ремень 2-3 милиметра ерзает по натяжному ролику влево - вправо.Установка дух других шестерен ничего не изменила. Плиз подскажите шо за беда.

Посилання на коментар
https://lanos.com.ua/topic/75306-tech-salnika-raspredvala/#findComment-1613729
Поділитись на інші сайти

Доброго времени суток. Подскажите кто знает шо за прикол опять с моим сеней. Появился вой в районе ГРМ снял защиту и запустил движок. Увидел , что шестерня РВ вращается не в плоскости (виляет) и ремень 2-3 милиметра ерзает по натяжному ролику влево - вправо.Установка дух других шестерен ничего не изменила. Плиз подскажите шо за беда.

больше всево ролик, нужно розбирать смотреть, при ослабленом ремне не болтается, у меня на подобе было так ето ролик был, но может и помпа давать о себе знать.

Посилання на коментар
https://lanos.com.ua/topic/75306-tech-salnika-raspredvala/#findComment-1614341
Поділитись на інші сайти

Гість
Ця тема закрита для опублікування відповідей.
×
×
  • Створити...

Важлива інформація

Ми розмістили cookie-файлы на ваш пристрій, щоб допомогти зробити цей сайт кращим. Ви можете змінити налаштування cookie-файлів, або продовжити без зміни налаштувань.