Перейти до змісту

Синий Сеня


Рекомендовані повідомлення

1,4 тис   1

Последствия Маленького Дощика 15.05.13

med_gallery_43804_4327_1862885.jpg

med_gallery_43804_4327_3702035.jpg

Наклеил клубную наклеечку:)в самый подходящий момент:

med_gallery_43804_4327_1661927.jpg

Змінено користувачем Артем Калякин
Посилання на коментар
https://lanos.com.ua/topic/67195-siniy-senya/page/5/#findComment-1564275
Поділитись на інші сайти

1,4 тис   1

Вообщем приобрел в Авто (под цвет) маленькую надувную подушку!

med_gallery_43804_4327_232764.jpg

Цена вопроса 12 грн. в АТБ

Зато теперь как приятно дрыхнуть :sleep:

Змінено користувачем Артем Калякин
Посилання на коментар
https://lanos.com.ua/topic/67195-siniy-senya/page/5/#findComment-1567590
Поділитись на інші сайти

1,4 тис   1

Сегодня был куплен передний тормозной шланг (АТ :verysad: )

hYT46.jpg

чего решил поменять?Вот...

vJBEt.jpg

J3mTK.jpg

3ghck.jpg

новая,зашла почти без проблем!Стопор чуток выделовался:)

bpPqT.jpg

старая еще рабочая,оставлю по запас,мало ли!

цена вопроса 30 грн. в кармане было только 50 грн. вот и взял (Какашко-АТ)

Тормозуха в запасе была!Ну естественно прокачка тормозов и т.д.!

Откручивал новую шлангу еще раз от суппорта,забыл медную шайбу закинуть! :joking:

Страшновато стало гонять без Прав :D ,да еще и с такой шлангочкой :joking:

Змінено користувачем Артем Калякин
Посилання на коментар
https://lanos.com.ua/topic/67195-siniy-senya/page/5/#findComment-1569105
Поділитись на інші сайти

  • 3 тижня потому...

Во сколько обошлось восстановление прав?

Посилання на коментар
https://lanos.com.ua/topic/67195-siniy-senya/page/5/#findComment-1582649
Поділитись на інші сайти

1,4 тис   1

Ах да...по поводу прав!

Они у меня уже в кармане! :yahoo:

Будь ласка Увійдіть або Зареєструйтесь щоб побачити посилання.

, Обошлось 580 грн. и почти 2 мес. времени!

По поводу сдачи заново экзаменов,не сдавал я нифига!Вот так!

Теперь Кривой Рог может дышать спокойно!А то я без прав педальку в пол, :joking: когда увижу мигалки! :gai:

Змінено користувачем Артем Калякин
Посилання на коментар
https://lanos.com.ua/topic/67195-siniy-senya/page/5/#findComment-1582881
Поділитись на інші сайти

ну поздровляю :russian: ,больше не теряй а то дорого обходится..........

Посилання на коментар
https://lanos.com.ua/topic/67195-siniy-senya/page/5/#findComment-1582939
Поділитись на інші сайти

Ах да...по поводу прав!

Они у меня уже в кармане! :yahoo:

Будь ласка Увійдіть або Зареєструйтесь щоб побачити посилання.

, Обошлось 580 грн. и почти 2 мес. времени!

По поводу сдачи заново экзаменов,не сдавал я нифига!Вот так!

Теперь Кривой Рог может дышать спокойно!А то я без прав педальку в пол, :joking: когда увижу мигалки! :gai:

Вітаю !

А мене колись заставили на компі перездавати, коли посіяв водійське посвідчення... :unsure:

Посилання на коментар
https://lanos.com.ua/topic/67195-siniy-senya/page/5/#findComment-1583110
Поділитись на інші сайти

1,4 тис   1

ну поздровляю :russian: ,больше не теряй а то дорого обходится..........

Благодарю:)

Вітаю !

А мене колись заставили на компі перездавати, коли посіяв водійське посвідчення... :unsure:

Да Я сам весь на нервах был,лишь бы не сдавать заново!

Посилання на коментар
https://lanos.com.ua/topic/67195-siniy-senya/page/5/#findComment-1584318
Поділитись на інші сайти

  • 2 місяця потому...
1,4 тис   1

Я вернулся,а здесь пыльно :D

Посилання на коментар
https://lanos.com.ua/topic/67195-siniy-senya/page/5/#findComment-1625008
Поділитись на інші сайти

  • 1 місяць потому...
1,4 тис   1

25.10.2013 черный день календаря :veryangry:

Подробно здесь:  

Будь ласка Увійдіть або Зареєструйтесь щоб побачити посилання.

Теперь мой Сеня коцаный (с вмятинкой)!

post-43804-0-41828000-1382861735_thumb.jpost-43804-0-21714700-1382861743_thumb.jpost-43804-0-67754000-1382861752_thumb.j

Змінено користувачем Артем Калякин
вставил фото
Посилання на коментар
https://lanos.com.ua/topic/67195-siniy-senya/page/5/#findComment-1666633
Поділитись на інші сайти

Сочувствую... Если это действительно бутылка летела, то быдло что ее запустило еще найдет свое "счастье"..

Змінено користувачем jasonua
Посилання на коментар
https://lanos.com.ua/topic/67195-siniy-senya/page/5/#findComment-1666909
Поділитись на інші сайти

1,4 тис   1

 

Будь ласка Увійдіть або Зареєструйтесь щоб побачити посилання.

  на машинке видно по вмятинам,где было донышко а где горлышко!Четко две вмятины!

А тому Быдлу желаю всего лучшего,жизнь Я думаю их накажет по полной!

Змінено користувачем Артем Калякин
Посилання на коментар
https://lanos.com.ua/topic/67195-siniy-senya/page/5/#findComment-1667693
Поділитись на інші сайти

  • 3 тижня потому...
1,4 тис   1

Последнее время а точнее неделю, авто уверенно тянуло на право :hmmm: ,особенно когда на дороге с неровностями :energy: )))На стиральной доске вообще бросало в право причем резко!

Пришли долгожданные выходные,и добрался я до гаража!

Поднял я Сеньку:

Будь ласка Увійдіть або Зареєструйтесь щоб побачити зображення.

Сеня готов к взлету :witch:  :D

И увидел вот такую Беду:

Снял и вот что было:

Сердечко :heart:

Вообщем стоки стаба пришли в негодность,ясно что нуно их менять!

Думаю писать что и как ненужно,тем много по поводу сего,так что вот так!

Фотки новых стоек чет прошляпил,не сфотал :(

А в упаковке вот они:

Ах да и поменял как всегда мою любимую прокладочку: проехал до след. замены 7 тыс.

Змінено користувачем Артем Калякин
Посилання на коментар
https://lanos.com.ua/topic/67195-siniy-senya/page/5/#findComment-1680154
Поділитись на інші сайти

у меня тоже эта прокладка была любимой, ставил разные и из паранита выбивал но постоянно прогорали и тянуло выхлопом в салон. Поставил выхлопную от 1.4 и забыл эту проблему.

Посилання на коментар
https://lanos.com.ua/topic/67195-siniy-senya/page/5/#findComment-1680260
Поділитись на інші сайти

1,4 тис   1

Блин но выпуск от 1.4 это в мечтах пока))))

Пока с ней думаю бороться,хватает прокладки 2 шт. за ТО.То есть на 10 тыс. 2 шт. 

 

Будь ласка Увійдіть або Зареєструйтесь щоб побачити посилання.

можешь подробно объяснить,что нужно для решения проблемы моей,по поводу перехода на 1.4?????

То есть что нужно заменить,купить,установить и т.д.!А то я чет пока не осмыслю это:)

Змінено користувачем Артем Калякин
Посилання на коментар
https://lanos.com.ua/topic/67195-siniy-senya/page/5/#findComment-1681027
Поділитись на інші сайти

1,4 тис   1

Сегодня выдался очередной денек в гараже:

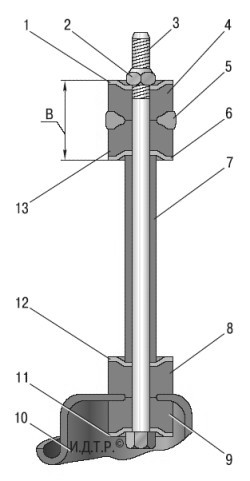
1.Отрегулировал зазор между расстоянием В 258_small_13.jpg подушками стоек стаба,ибо штангеля нету в гараже :svist:

пользовался вот этой темой:

Будь ласка Увійдіть або Зареєструйтесь щоб побачити посилання.

После замены на новые стойки,ощущение на неровностях,как в мерсе))))

2.Прикупил шняжки на авто:

прикупил у  

Будь ласка Увійдіть або Зареєструйтесь щоб побачити зображення.

комплект подсветки бардачка!

пользовался мануалом по подключению подсветки в БЖ -а 

за что ему огромное спс :preved:

вот фотки:

+ от аварийки

плафон на своем месте)))

кнопка)))

как светит днем

это в гараже свет:

 

Вот так вот провел денек)))

Змінено користувачем Артем Калякин
Посилання на коментар
https://lanos.com.ua/topic/67195-siniy-senya/page/5/#findComment-1681032
Поділитись на інші сайти

1,4 тис   1

Ах да и еще сделал полезную вещь для тормозюлек:

Будь ласка Увійдіть або Зареєструйтесь щоб побачити зображення.

купил пыльники на направляющие суппортов

и вот эту штуку,для направляющих

вот они красавцы,вымыл их ВДшкой,а после спиртиком!

отверстия обязательно промыть нужно:

Ну и ставим обратно как и снимали,где-то я подробно все описывал как и что!Повторяться не буду!

Вот....

 

 

 

 

Змінено користувачем Артем Калякин
Посилання на коментар
https://lanos.com.ua/topic/67195-siniy-senya/page/5/#findComment-1681034
Поділитись на інші сайти

У тебя после смазки резинки не набухли? а то я еле всунул их обратно.

Посилання на коментар
https://lanos.com.ua/topic/67195-siniy-senya/page/5/#findComment-1681257
Поділитись на інші сайти

1,4 тис   1

У тебя после смазки резинки не набухли? а то я еле всунул их обратно.

Димон,так ее нужно всего то ничего,для смазки)))

Резинки одел в отверстие,распылил смазку на палец,и воткнул его в резинку,она сама и оденется на палец + лишак смазки выйдет,вот и Все:)

Посилання на коментар
https://lanos.com.ua/topic/67195-siniy-senya/page/5/#findComment-1681567
Поділитись на інші сайти

А я с дуру набухал и потом реально минут двадцать мудохался ещё руки трусились всё таки не ланос а киа страшновато было.

Посилання на коментар
https://lanos.com.ua/topic/67195-siniy-senya/page/5/#findComment-1681850
Поділитись на інші сайти

1,4 тис   1

Когда первый раз пользовался этой штукой, то тоже набухал туда смазки как для себя))) :joking: А после сложно было одеть резинки)))Первый раз научил,что все нужно в меру впихивать)))!

Посилання на коментар
https://lanos.com.ua/topic/67195-siniy-senya/page/5/#findComment-1682623
Поділитись на інші сайти

1,4 тис   1
На днях прогревая Сеньку(утром было +3),машинально обстукивая покрышки(проверка давления :nasos: ),левое заднее колесо очень шаталось. :hmmm:

Пробуя пошатать руками колесо,люфт был очень большим! :hey: Что меня как-то насторожило,ведь летом менял задние подшипники!

 

Будь ласка Увійдіть або Зареєструйтесь щоб побачити посилання.


 

Заехал в гараж подняв колесо и, пошатав, вновь убедился что это подшипник!

Сняв колпачек ступицы,и пошатав шайбу отверткой понял что нужно подтянуть гайку(подшипника)!

Еле снял шплинт)))минут 5 мудохался с ним :hot:  )))

Будь ласка Увійдіть або Зареєструйтесь щоб побачити зображення.


Как раз пригодился динамо-ключ который я одолжил)))


ну и результат  :yes:себя оправдал,теперь как новый!


Пользовался вот этой инструкцией:

по регулировке задних подшипников!

Классный сайт,всегда им пользуюсь, перед тем как руки вымазывать!

Вот и все :molodec:

Змінено користувачем Артем Калякин
Посилання на коментар
https://lanos.com.ua/topic/67195-siniy-senya/page/5/#findComment-1687368
Поділитись на інші сайти

  • 2 тижня потому...
1,4 тис   1

На выходных решил проверить задние амики,как они вообще там!

Ибо доски сзади достали!

Прикупил комплект резинок!
Вот что Я увидел когда их снял:

Будь ласка Увійдіть або Зареєструйтесь щоб побачити зображення.




Разница между резинками:





вот упаковка:


Выкрутить нижний болт амортов была проблема:


А далее дело времени:

Кстати прежде чем снимать аморты,замерял вылет штока,какой был с завода:

 


вылет 1.5,а в инструкции написано 0.9 должен быть вылет!Непонятно)

Я сделал вылет 0.9 как в инструкции написано

доски пропали,опа плавно,мягко без скрипов и т.д. теперь!

Тишина сзади)))

Змінено користувачем Артем Калякин
Посилання на коментар
https://lanos.com.ua/topic/67195-siniy-senya/page/5/#findComment-1698616
Поділитись на інші сайти

1,4 тис   1

Ну и на днях переобулся в Зимние Тапки:

Передние:

Будь ласка Увійдіть або Зареєструйтесь щоб побачити зображення.




Задние:

Ну и прикупил новую табличку на номер+решетка:


Змінено користувачем Артем Калякин
Посилання на коментар
https://lanos.com.ua/topic/67195-siniy-senya/page/5/#findComment-1698624
Поділитись на інші сайти

...

Ну и прикупил новую табличку на номер+решетка:

attachicon.gif

Будь ласка Увійдіть або Зареєструйтесь щоб побачити посилання.

attachicon.gif

Решетка - какашка. Есть что прятать?

Посилання на коментар
https://lanos.com.ua/topic/67195-siniy-senya/page/5/#findComment-1698694
Поділитись на інші сайти

Для публікації повідомлень створіть обліковий запис або авторизуйтесь

Ви повинні бути користувачем, щоб залишити коментар

Створити обліковий запис

Зареєструйте новий обліковий запис у нашій спільноті. Це дуже просто!

Реєстрація нового користувача

Увійти

Вже є акаунт? Увійти до системи.

Увійти
×
×
  • Створити...

Важлива інформація

Ми розмістили cookie-файлы на ваш пристрій, щоб допомогти зробити цей сайт кращим. Ви можете змінити налаштування cookie-файлів, або продовжити без зміни налаштувань.